BÀI VIẾT MỚI
TỪ KHÓA TÌM KIẾM
[Nội dung chính]
Hệ thống chuyển ảnh nằm phía dưới cụm trống thường gọi là cụm băng tải ( Belt ) cụm này có 2 tác dụng đó là chuyển nội dung sang giấy và tách giấy ra khỏi bề mặt trống. Tại sao lại là chuyển ảnh ? tại sao lại tách giấy ra khỏi Trống ? thì hôm nay chúng tôi cung cấp sơ đồ hệ thống này giúp các bạn có thể hình dung dõ hơn.

Hình ảnh thực thế cụm băng tải máy photô ricoh
Chúng tôi cung cấp tài liệu về cụm belt máy photocopy Ricoh nhằm hỗ trợ anh em làm kỹ thuật hiểu rõ hơn về nó và có phương án sửa chữa thuận lợi hơn.
Các máy photo có cùng cấu tạo cụm băng tải ricoh tương đồng : cụm băng tải Ricoh mp 1075, cụm băng tải Ricoh mp 2075, cụm băng tải Ricoh mp 550, cụm băng tải Ricoh mp 650, cụm băng tải Ricoh mp 7500, cụm băng tải Ricoh mp 5500, cụm băng tải Ricoh mp 6500, cụm băng tải Ricoh mp 6000, cụm băng tải Ricoh mp 6001, cụm băng tải Ricoh mp 7502, cụm băng tải Ricoh mp 7000, cụm băng tải Ricoh mp 7001...
Cụm băng tải tạo ra một luồng điện tích nghịch dấu với điện tích hạt mực được hình thành trên bề mặt trống, do đó hạt mực này sẽ bị hút xuống bề mặt giấy ( giấy ở giữa ), và cụm băng tải còn có tác dụng tác giấy khỏi bề mặt trống ( giấy đang bám vào trống ) nhờ luồng điện tích trái dấu.

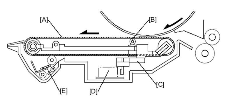
(A) : Băng tải cao áp, dài 321mm trên bề mặt phủ lớp tích điện, nó dùng để chuyển ảnh và tách giấy khỏi trống.
(B) : Trục cao áp tách mực.
(C) : Tấm nâng băng tải lên sát trống.
(D) : Nguồn cao áp.
(E) : Gạt mực làm sạch mặt băng tải.


Trong đó bao gồm:
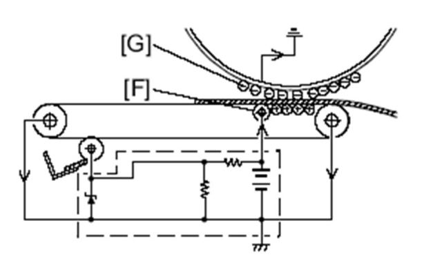
[A] : Trục chờ.
[B] : Giấy.
[C] : Trống.
[D] : Băng tải cao áp.
[E] : Tấm nâng hạ cao áp.
[F] : Trục cao áp.
[G] : Hạt mực.

Hoạt động của hệ thống :
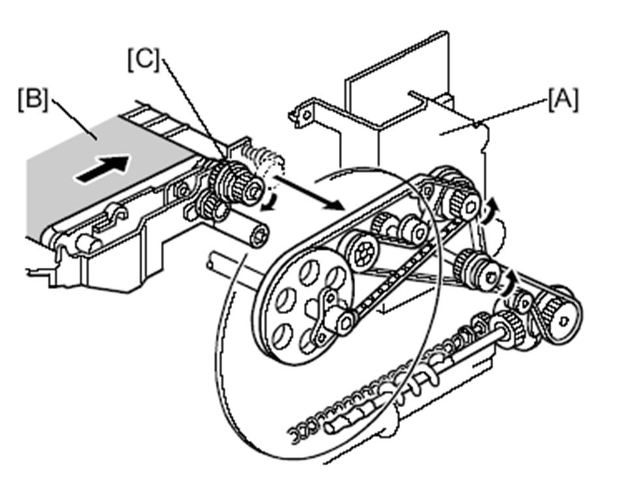
Khi có lệnh rơle (A) làm việc, cánh tay đòn (D) tác động đến hai đế nâng (B) và (C), làm thanh nâng bộ băng tải (E) nâng cả cụm băng tải áp sát vào mặt trống.

Bộ băng tải được truyền chuyển động từ động cơ trống (A) thông qua hệ thống cua roa,bánh răng tới bánh răng (C) và quay băng tải (B).

Trong hình bao gồm :
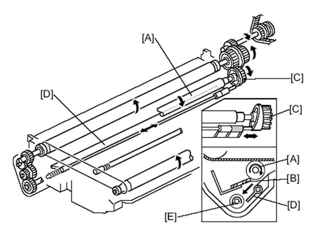
[B] : Gạt trục lau băng tải.
[C] : Bánh răng cam.
[A] : Trục lau băng tải.
[E] : Trục xoắn thải mực.
[D] : Tấm dồn mực thải vào trục xoắn.

Trục xoắn thu hồi mực thải (A) quay được nhờ các bánh răng (B),mực thải (C) được trục xoắn đẩy vào bình chứa (D).
|Xem thêm dịch vụ sửa máy photocopy ricoh liên hệ với chúng tôi
Từ khóa tìm kiếm: cụm belt máy photocopy ricoh, băng tải máy photocopy ricoh, cấu tạo cụm belt máy photocopy ricoh, thay băng tải máy photocopy ricoh, lỗi băng tải máy photocopy ricoh, thay băng tải máy photo ricoh, thay belt máy photocopy ricoh
☎️ Liên Hệ Tư Vấn: 0988 55 33 53
💬 Gửi tin nhắn Zalo