BÀI VIẾT MỚI
TỪ KHÓA TÌM KIẾM
[Nội dung chính]
Hộp từ máy photo Ricoh nằm sát bên cụm trống, cụm từ là bộ phận gây ra nhiều hỏng hóc cho máy photo, các nguyên nhân hỏng máy bắt nguồn nhiều từ cụm từ bị rò rỉ từ ra ngoài máy gây : tắc giấy, bản photo bị mờ, văng mực ra máy, máy chạy kêu, bản in bị đen... Chúng tôi cung cấp tài liệu về cụm từ máy photo ricoh nhằm hỗ trợ anh em làm kỹ thuật hiểu rõ hơn về nó và có phương án sửa chữa thuận lợi hơn.
Các máy photo có cùng cấu tạo hộp từ tương đồng : cụm từ Ricoh mp 1075, cụm từ Ricoh mp 2075, cụm từ Ricoh mp 550, cụm từ Ricoh mp 650, cụm từ Ricoh mp 7500, cụm từRicoh mp 5500, cụm từ Ricoh mp 6500, cụm từ Ricoh mp 6000, cụm từ Ricoh mp 6001, cụm từ Ricoh mp 7502, cụm từ Ricoh mp 7000, cụm từ Ricoh mp 7001...

Trục từ có đường kính khoảng 20 mm

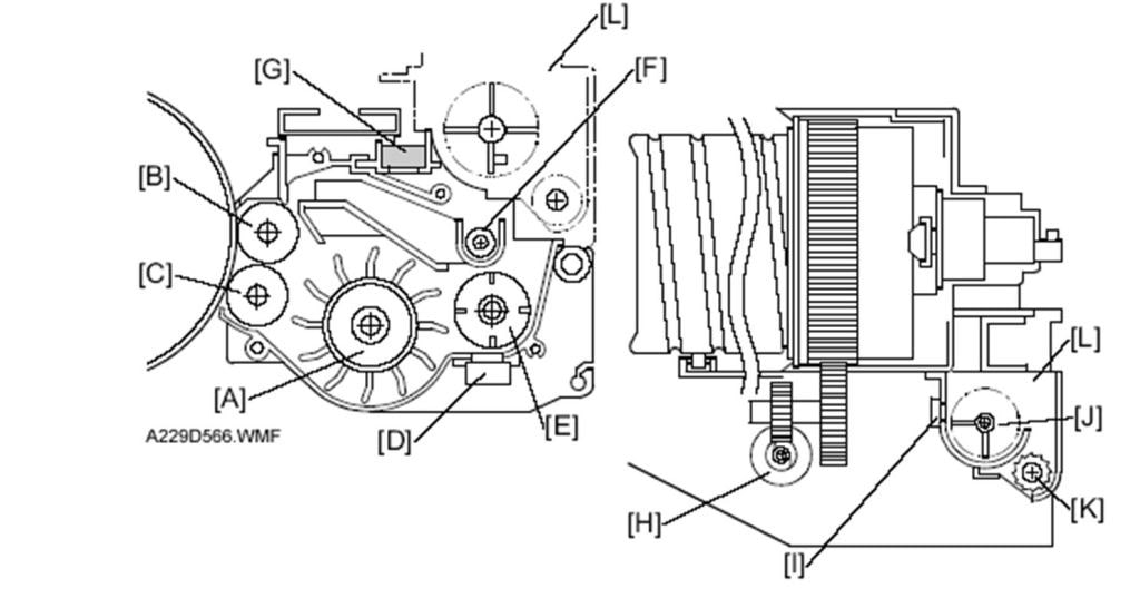
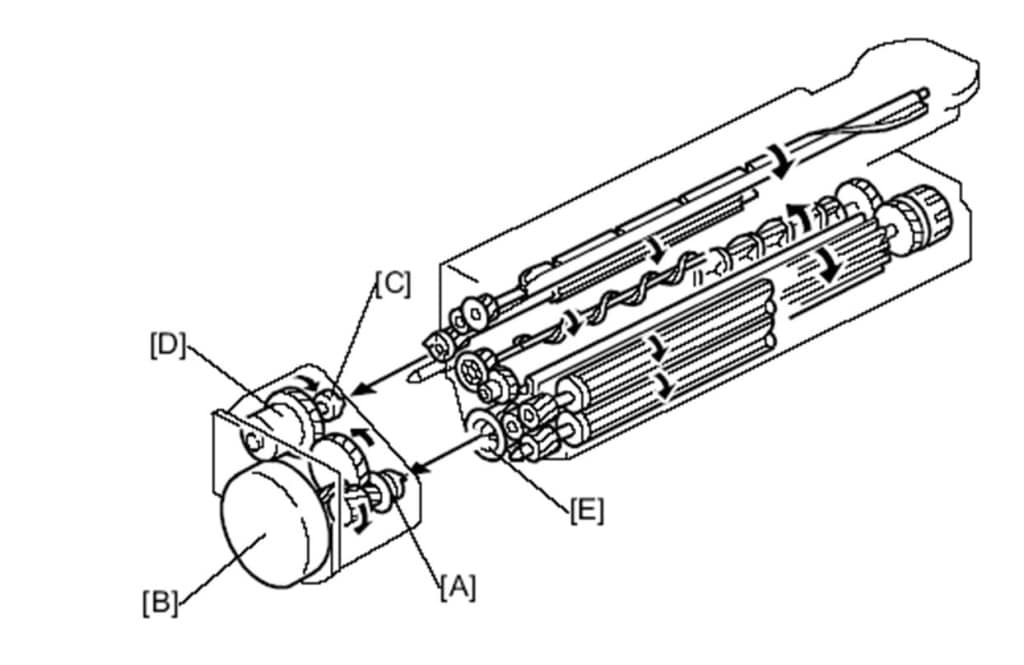
- Động cơ tải hộp từ (B).
- Bánh răng quay trục từ (A).
- Khớp ma sát quay trục cấp mực (D).
- Bánh răng nối với trục cấp mực (C).
- Bánh răng truyền chuyển động cho hộp từ (E).
Mực được cấp từ trục mực (F) xuống trục đảo từ (D), ở đây từ và mực được trộn đều bởi trục đảo từ và trục khế, sau đó từ được đẩy vào trục từ, Từ được quay về trục đảo từ nhờ máng dẫn từ (C) và (E), Trục điều hoà từ (F) dùng để điều hoà cân bằng bột từ ở hai đầu trục từ, chống hiện tượng dồn từ về một bên.


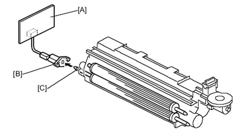
Bảng nguồn điện áp trục từ (A), Đầu nối điện áp vào trục từ (B), trục từ (C).
>>> liên hệ dịch vụ sửa máy photocopy ricoh
Từ khóa tìm kiếm: hộp từ máy photocopy Ricoh, thay hộp từ máy photocopy Ricoh, sửa hộp từ máy photocopy Ricoh, cấu tạo hộp từ máy photocopy Ricoh, thay từ máy photocopy Ricoh, hộp từ ricoh 6000, hộp từ ricoh 6001, hộp từ ricoh 6502, hộp từ ricoh 7502, hộp từ ricoh 7000, hộp từ ricoh 7001, hộp từ ricoh 8001, hộp từ máy photocopy savin, hộp từ máy photocopy gestetner, cụm từ ricoh, cấu tạo cụm từ ricoh
☎️ Liên Hệ Tư Vấn: 0988 55 33 53
💬 Gửi tin nhắn Zalo